锘?!DOCTYPE html PUBLIC "-//W3C//DTD XHTML 1.0 Transitional//EN" "http://www.w3.org/TR/xhtml1/DTD/xhtml1-transitional.dtd">

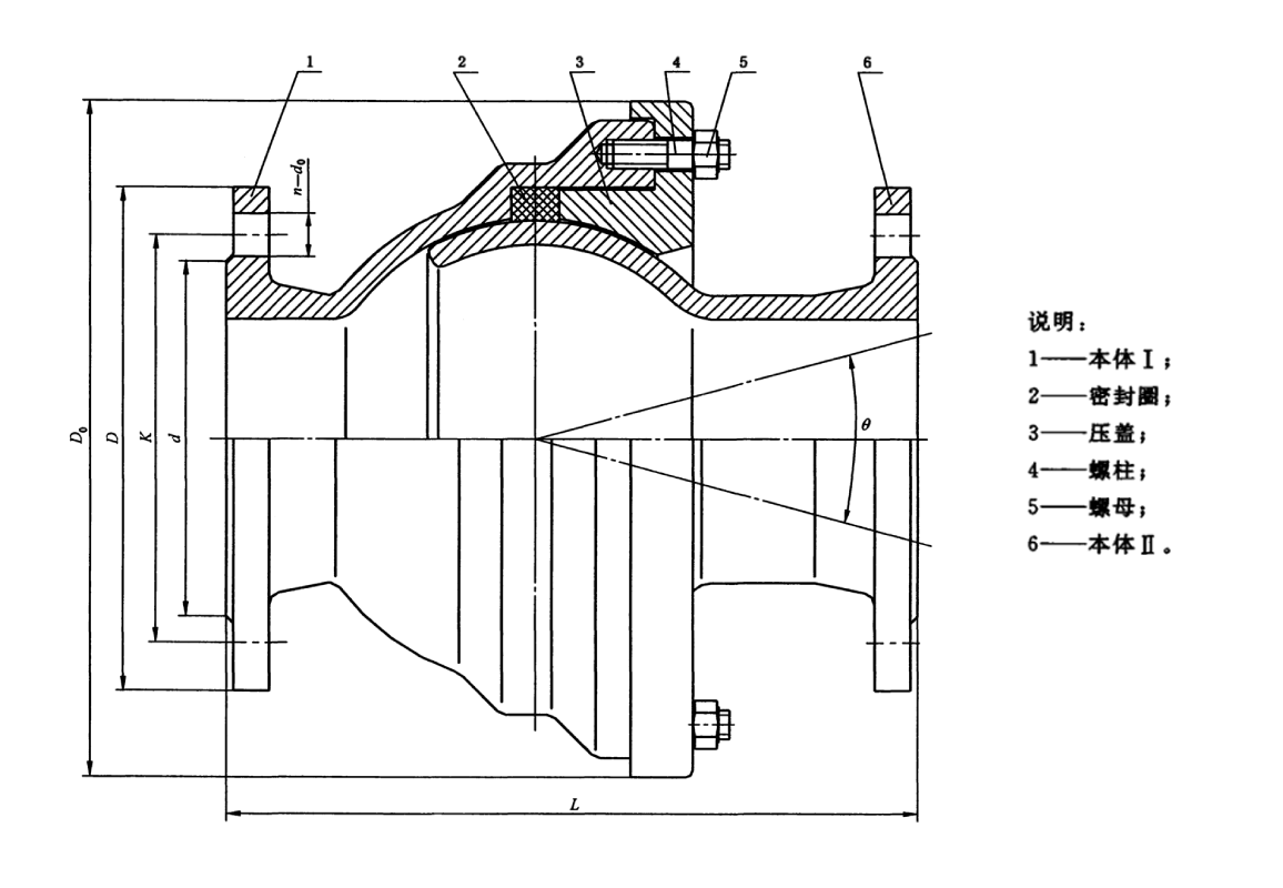
鐞冨艦琛ュ伩鍣ㄧ殑瀹夎鏂瑰紡
1銆佺洿綰跨孌佃兘鍏呭垎鍙戞尌鐞冨艦琛ュ伩鍣ㄨˉ鍋胯兘鍔涘ぇ鐨勭壒鐐廣傛牴鎹瀛愯鏍間笌綆″瓙鐨勫垰鎬э紝鍙皢綆¢亾涓ょ鍥哄畾鏀灦鐨勮窛紱誨畾涓?0m~70m錛屽畨瑁呬竴緇勭悆褰㈣ˉ鍋垮櫒錛屽叾瀹夎鏂瑰紡鍙互姘村鉤瀹夎錛屼篃鍙互鍨傜洿瀹夎銆?br/>2銆佺敱浜庤繖縐嶅瀷寮忓叾鎶樺眻瑙掑煎澶т竴鍊嶏紝鍙緝鐭悆蹇冭窛錛屽厖鍒嗗彂鎸ョ悆褰㈣ˉ鍋垮櫒鐨勮ˉ鍋胯兘鍔涖傛縐嶅瀷寮忛傜敤浜庡皢鐞冨艦琛ュ伩鍣ㄨ鍦ㄤ袱涓浐瀹氭敮鏋朵袱绔紝紱諱袱绔浐瀹氭敮鏋惰繎鐐圭殑鍦版柟銆?br/>3銆佸弻鍚戝紡瀹夎閫傜敤浜庣悆褰㈣ˉ鍋垮櫒璁懼湪涓ゅ浐瀹氱偣涓ょ錛岃緝涓洪備腑鐨勪綅緗紝灝介噺浣緼孌電閬撻暱搴︿笌B孌電閬撻暱搴︾浉鎺ヨ繎鎴栬窛紱匯傝繖縐嶅畨瑁呮柟寮忛傜敤浜庨暱璺濈鐩寸嚎綆¢亾錛屽彲閲囩敤姘村鉤闈㈠畨瑁咃紝浜﹀彲閲囩敤鍨傜洿瀹夎銆?/p>
鐞冨艦琛ュ伩鍣ㄦ槸瑙e喅綆¢亾鐑儉鍐風緝鐨勪竴縐嶈澶囷紝鍙箍娉涘簲鐢ㄤ簬鍐墮噾銆佺煶娌廣佸寲宸ャ佺數鍔涖佽交宸ャ佺漢緇囥佸緩絳戝拰鍥介槻寤鴻絳夎涓氫腑錛屽叿浣撶敤閫斿涓?錛?br/>1銆佺敤浜庣儹鍔涚閬撲腑錛岃ˉ鍋跨儹鑶ㄨ儉錛屽叾琛ュ伩鑳藉姏涓衡滃唫鈥濊ˉ鍋垮櫒鐨?-10鍊嶃?br/>2銆佺敤浜庣伀綆彂灝勫彴銆侀鏈烘帓姘旇鏂戒笂錛岃ˉ鍋垮啿鍑昏啫鑳銆?br/>3銆佺敤浜庡喍閲戣澶囷紙濡傞珮鐐夈佽漿鐐夈佺數鐐夈佸姞鐑倝絳夛級鐨勬苯鍖栧喎鍗寸郴緇熶腑錛屼綔涓囧悜鎺ュご鐢ㄣ?br/>4銆佺敤浜庡緩絳戠墿鐨勫悇縐嶇閬撲腑錛岄槻姝㈠洜鍦板熀浜х敓涓嶅潎鍖涓嬫矇銆佹垨鍦伴渿絳夋剰澶栧師鍥犲綆¢亾浜х敓鐮村潖銆?/p>
鍏О閫氬緞 錛わ籍 | 娉曞叞榪炴帴灝哄 | 瀵嗗皝闈?/strong> | 澶栧艦灝哄 | 鍙尃閲徫?/strong> 錛堬綇錛?/span> | 璐ㄩ噺 kg | |||||||||
娉曞叞澶栧緞 D | 铻烘爴瀛斾腑蹇冨渾鐩村緞K | 铻烘爴 瀛斿緞 d0 | 铻烘爴 | 鍘嬬洊澶栧緞 D0 | 鎬婚暱 L | |||||||||
| n錛堜釜錛?/span> | Th | |||||||||||||
100 | 210 | 170 | 18 | 4 | M16 | 148 | 282 | 290 | 15 | 42 | ||||
150 | 265 | 225 | 8 | 202 | 346 | 320 | 69 | |||||||
200 | 320 | 280 | 258 | 410 | 382 | 95 | ||||||||
250 | 475 | 335 | 12 | 312 | 464 | 410 | 130 | |||||||
300 | 440 | 395 | 22 | M20 | 365 | 535 | 430 | 175 | ||||||
350 | 490 | 445 | 415 | 607 | 470 | 237 | ||||||||
400 | 540 | 495 | 16 | 465 | 668 | 550 | 297 | |||||||
450 | 595 | 550 | 520 | 728 | 600 | 348 | ||||||||
500 | 645 | 600 | 20 | 570 | 798 | 689 | 410 | |||||||
600 | 755 | 705 | 26 | M24 | 670 | 918 | 725 | 615 | ||||||
700 | 860 | 810 | 24 | 775 | 1056 | 800 | 770 | |||||||
800 | 975 | 920 | 30 | M27 | 800 | 1160 | 893 | 936 | ||||||
900 | 1075 | 1020 | 980 | 1310 | 920 | 1345 | ||||||||
1000 | 1175 | 1120 | 28 | 1080 | 1443 | 975 | 1713 | |||||||
1200 | 1405 | 1340 | 33 | 32 | M30 | 1295 | 1693 | 1125 | 13 | 2218 | ||||
| 1400 | 1630 | 1560 | 36 | 36 | M33 | 1510 | 1942 | 1290 | 3463 | |||||
| 1600 | 1830 | 1760 | 40 | 1710 | 2164 | 1385 | 3603 | |||||||
| 1800 | 2045 | 1970 | 39 | 44 | M36 | 1920 | 2400 | 1580 | 10 | 4473 | ||||
| 2000 | 2265 | 2180 | 42 | 48 | M39 | 2125 | 2730 | 1870 | 5578 | |||||
| 2200 | 2475 | 2390 | 52 | 2335 | 2910 | 1950 | 6612 | |||||||
| 2400 | 2685 | 2600 | 56 | 2545 | 3135 | 2080 | 7623 | |||||||
濡傞渶鏈鏂版暟鎹鑱旂郴鍦ㄧ嚎瀹㈡湇
娌沖崡鑹紬綆′笟鏈夐檺鍏徃 鎵嬫満鍙鳳細18638277136 鍥鴻瘽錛?371-64018718 浼犵湡錛?nbsp;0371-64018718 閭錛?50165323@qq.com 鍦板潃錛氬琺涔夊競瑗挎潙闀囪タ鏉?nbsp; 緗戝潃錛?a href="http://m.seese.cn" target="_self">http://m.seese.cn